Eigenschwingungen eines ebenen Rahmens

Aufgabe

Für den skizzierten biege- und dehnsteifen Rahmen mit konstantem Querschnitt berechne man die kleinsten Eigenkreisfrequenzen und die zugehörigen Eigenschwingungsformen.

EI = 3,5·106 Nm2 ; EA = 2,9·109 N ; ρA = 100 kg/m ; a = 2 m .

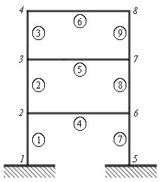
Femset-Berechnungsmodell

Das nebenstehende Bild zeigt die gewählte Knotennummerierung und die Elementnummerierung.

Das Problem wird gelöst unter Verwendung des in FEMSET verfügbaren biege- und dehnsteifen Elements Bm2DKM (hier findet man die Herleitung der Elementsteigkeits- und Elementmassenmatrix). Es hat drei Knoten-Freiheitsgrade (2 Verschiebungen und Biegewinkel), die Lage eines Knotens wird durch zwei Koordinaten festgelegt. Weil die Elementlänge le aus den Knotenkoordinaten berechnet werden kann, sind nur drei Elementparameter (EI, EA und ρA) erforderlich.

Für die Aufgabenstellung wird das nachfolgend zu sehende MATLAB-Script verwendet, in dem zunächst das Berechnungsmodell aufgebaut wird (im Unterschied zu elastostatischen Berechnungen hier mit einer Matrix der Knotenmassen an Stelle der Matrix der Knotenlasten). Das globale Koordinatensystem wird in die linke untere Ecke des Rahmens (Knoten 1) gelegt. In der Matrix xy werden die 8 Koordinatenpaare der Knoten zusammengestellt. Die Koinzidenzmatrix km legt fest, welche beiden Knoten jeweils zu den 9 Elementen gehören. Für alle Elemente gelten die Elementparameter EI, EA und ρA entsprechend der Aufgabenstellung (Matrix ep). Am Knoten 1 und am Knoten 5 sind die drei Verformungen (beide Verschiebungen und der Biegewinkel) verhindert (Matrix kr).

Mit diesen Informationen können die 5 Standard-Matrizen des Berechnungsmodells aufgebaut werden, dieses Beispiel erfordert jedoch noch die Definition zweier weiterer Matrizen:

Das Matlab-Script zeigt in den Zeilen 3 bis 14 den Aufbau der insgesamt 7 Matrizen, die das Berechnungsmodell beschreiben.

Berechnung der Verformungen mit der Interface-Routine femalg_f

Der Aufruf von femalg_f (Zeile 18) entspricht exakt der Syntax eines Matlab-Funktionsaufrufs. Es werden 7 Parameter übergeben und zwei Ergebnisse abgeliefert. femalg_m ist aber keine Matlab-Funktion, die als .m-Datei gespeichert ist, sondern ein "Mex-File" (Binär-Datei, die für die Matlab-32-Bit-Version als .dll-Datei gespeichert ist, für die Matlab-64-Bit-Version als .mexw64-Datei). Diese Mex-Files sind Bestandteil von Matlab-Femset und stehen zum Download zur Verfügung. femalg_m ist ein außerordentlich vielseitiges Tool, komplett dokumentiert auf der Seite "Femalg_m - Interface zum FEMSET-Solver für elastostatische Probleme".

Der Aufruf von femalg_f liefert die Ergebnisse im Command Window ab: Der Ergebnis-Parameter succ gibt mit dem Wert 1 an, dass die Rechnung erfolgreich war. Die Matrix uv enthält in jeder Zeile die beiden Verformungen eines Knotens (Vertikalverschiebung v und Biegewinkel φ). Man beachte, dass die Vertikalverschiebungen für die Koten 3 und 4 (Gelenk) gleich sind, die Biegewinkel jedoch unterschiedlich.

Für Interessenten, die die Berechnung mit Matlab nachvollziehen wollen:

Das oben zu sehende Matlab-Script ist als BiegungFedernGelenk.m zum Download verfügbar. Die für die Berechnung erforderliche Interface-Routine (femalg_m.dll oder femalg_m.mexw64) findet man auf der Seite "Interface-Routinen zum FEM-Baukasten Femset aus Matlab".